QR коды
Біз туралы
Құралдар
Бізбен хабарласыңы


Факс
+86-574-87168065

Электрондық пошта

Мекенжай
Луотуо индустриалды ауданы, Жеңьки ауданы, Нингбо қаласы, Қытай
Райдафонның SWC-BH икемдік дәнекерлеу типі Әмбебап муфталар «Машиналар» сценарийлерін талап ететін ауыр моментке арнайы трансферді, тұрақты, крандар және тұрақты стресстен жұмыс істейтін тау-кен жабдықтары үшін арнайы беріліп жатыр.
Ол дәнекерленген қамырмен бірге негізгі дизайн ерекшелігі бар, ал оның гиративті диаметрлері практикалық диапазонмен жүреді: 180 мм-ден 620 мм дейін. Қатты жұмыс үшін не дана етіп қойылғандар - бұл 15 градусқа дейін бұрыштық туриялық келісімдерді жеңу қабілеті, сонымен қатар, сонымен қатар, сонымен қатар 1250 KNNAC-ге дейін, сонымен қатар, сонымен қатар, сонымен қатар, сонымен қатар, сонымен қатар, сонымен қатар, сонымен қатар, сонымен қатар, сонымен қатар, сонымен қатар, сонымен қатар, сонымен бірге қатал жұмыс жағдайында да, сонымен қатар тұрақты жұмыс істеу үшін де маңызды.
Құру сапасы беріктікке бағытталған: муфта уақыт өте келе тегіс, сенімді, сенімді, сенімді, сенімді, сенімді, сенімді орындау үшін жоғары беріктігі үшін жоғары беріктігі бар. Бұл оны екі негізгі қажеттілік үшін таңдауға мәжбүр етеді: ауыр машиналарға арналған әмбебап муфталар және өнеркәсіптік сұрыптауға арналған дәнекерленген әмбебап муфталар.
Райдафон Қытайдағы бұл муфт шығарады, ал барлық өндірістер дәйекті сапа кепілдігіне кепілдік беру үшін ISO 9001 стандарттарына сәйкес келеді. Оның үстіне, ол нақты талаптарға сәйкестендірудің жеке нұсқаларын ұсынады - барлық сенімділік пен құндылықты іздейтін кәсіпорындар үшін бәсекеге қабілетті бағамен.
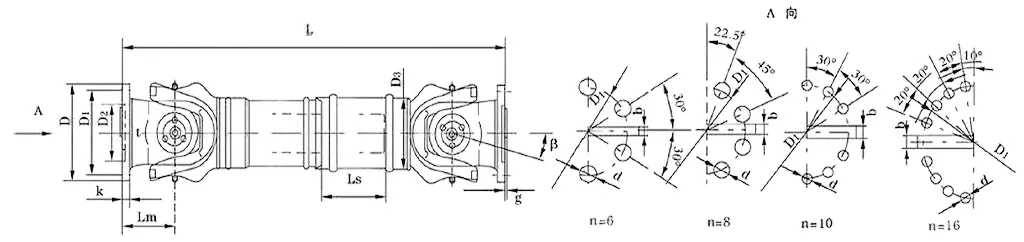
| Жоқ | Гирратия диаметрі d мм | Номиналды момент Түнер КНК | AXES бүктелген бұрышы β (°) | Шаршаған момент Тг КНК | Flex мөлшері Ls мм | Мөлшері (мм) | Айналмалы инерция кг.м2 | Салмақ (кг) | |||||||||||
| Лмин | D1 (JS11) | Д2 (H7) | Д3 | Л | n-d | k | t | б (H9) | g | Лмин | Арттыру 100 мм | Лмин | Арттыру 100 мм | ||||||
| Swc58bh | 58 | 0.15 | 0.075 | ≤22 | 35 | 325 | 47 | 30 | 38 | 35 | 4-5 | 3.5 | 1.5 | - | - | - | - | 2.2 | - |
| Swc65bh | 65 | 0.25 | 0.125 | ≤22 | 40 | 360 | 52 | 35 | 42 | 46 | 4-6 | 4.5 | 1.7 | - | - | - | - | 3 | - |
| Swc75bh | 75 | 0.5 | 0.25 | ≤22 | 40 | 395 | 62 | 42 | 50 | 58 | 6-6 | 5.5 | 2 | - | - | - | - | 5 | - |
| Swc90bh | 90 | 1 | 0.5 | ≤22 | 45 | 435 | 74.5 | 47 | 54 | 58 | 4-8 | 6 | 2.5 | - | - | - | - | 6.6 | - |
| Swc100bh | 100 | 1.5 | 0.75 | ≤25 | 55 | 390 | 84 | 57 | 60 | 58 | 6-9 | 7 | 2.5 | - | - | 0.0044 | 0.00019 | 6.1 | 0.35 |
| SWC120BH | 120 | 2.5 | 1.25 | ≤25 | 80 | 485 | 102 | 75 | 70 | 68 | 8-11 | 8 | 2.5 | - | - | 0.0109 | 0.00044 | 10.8 | 0.55 |
| SWC150BH | 150 | 5 | 2.5 | ≤25 | 80 | 590 | 13 | 90 | 89 | 80 | 8-13 | 10 | 3 | - | - | 0.0423 | 0.00157 | 24.5 | 0.85 |
| SWC160BH | 160 | 10 | 5 | ≤25 | 80 | 660 | 137 | 100 | 95 | 110 | 8-17 | 15 | 3 | 20 | 12 | 0.145 | 0.006 | 68 | 1.72 |
| SWC180BH | 180 | 20 | 10 | ≤25 | 100 | 810 | 155 | 105 | 114 | 130 | 8-17 | 17 | 5 | 24 | 14 | 0.175 | 0.007 | 70 | 2.8 |
| SWC200BH | 200 | 32 | 16 | ≤15 | 110 | 860 | 170 | 120 | 127 | 135 | 8-17 | 19 | 5 | 28 | 16 | 0.31 | 0.013 | 86 | 3.6 |
| SWC225BH | 225 | 40 | 20 | ≤15 | 140 | 920 | 196 | 135 | 152 | 120 | 8-17 | 20 | 5 | 32 | 9 | 0.538 | 0.0234 | 122 | 4.9 |
| SWC250BH | 250 | 63 | 31.5 | ≤15 | 140 | 1035 | 218 | 150 | 168 | 140 | 8-19 | 25 | 6 | 40 | 12.5 | 0.966 | 0.0277 | 172 | 5.3 |
| SWC285BH | 285 | 90 | 45 | ≤15 | 140 | 1190 | 245 | 170 | 194 | 160 | 8-21 | 27 | 7 | 40 | 15 | 2.011 | 0.051 | 263 | 6.3 |
| SWC315BH | 315 | 125 | 63 | ≤15 | 140 | 1315 | 280 | 185 | 219 | 180 | 10-23 | 32 | 8 | 40 | 15 | 3.605 | 0.0795 | 382 | 8 |
| Swc350BH | 350 | 180 | 90 | ≤15 | 150 | 1410 | 310 | 210 | 267 | 194 | 10-23 | 35 | 8 | 50 | 16 | 7.053 | 0.2219 | 582 | 15 |
| SWC390BH | 390 | 250 | 125 | ≤15 | 170 | 1590 | 345 | 235 | 267 | 215 | 10-25 | 40 | 8 | 70 | 18 | 12.164 | 0.2219 | 738 | 15 |
| SWC440BH | 440 | 355 | 180 | ≤15 | 190 | 1875 | 390 | 255 | 325 | 260 | 16-28 | 42 | 10 | 80 | 20 | 21.42 | 0.4744 | 1190 | 21.7 |
| SWC490BH | 490 | 500 | 250 | ≤15 | 190 | 1985 | 435 | 275 | 325 | 270 | 16-31 | 47 | 12 | 90 | 22.5 | 32.86 | 0.4744 | 1452 | 21.7 |
| SWC550BH | 550 | 710 | 355 | ≤15 | 240 | 2300 | 492 | 320 | 426 | 305 | 16-31 | 50 | 12 | 100 | 22.5 | 68.92 | 1.357 | 2380 | 34 |
Қуатты сенімді түрде айтатын болсақ, онда қуаттылықты сенімді түрде айтады, бұл SWC әмбебап бірлескен муфтасы (көбінесе SWC картаның білігінің әмбебап бірлескен муфтасы деп аталады) - келісілмейтін бөлім. Сіз оны роликтер, жүк көтергіш машиналар, сондай-ақ қуатты ауыр машина жасаудың барлық түрлеріндегі жөндеу жұмыстары кезінде қиын, сонымен қатар электр энергиясын берудің бұрыштары ғана емес.
Оның негізгі жұмысы? Мінсіз (сәйкес келмейтін осьтер) құрбандық біліктерін қосып, қуат қатысы жоқ, тіпті жұмыс жағдайлары өрескел болған кезде де қуат беретініне көз жеткізіңіз. Ешқандай тосқауылдар жоқ, үзіліс жоқ - бұл өте маңызды болған кезде тұрақты аударым.
Бұл өнімділікті мүмкін болатын негізгі сипаттамаларын бұзайық:
Гиративті диаметрі: φ58-ден β620-дан φ620-ға дейін.
Ол қай жерде тұрады? Диірек диірмен жұмысын ойлаңыз - бұл диірменнің қатты қысымына сәйкес келетін сенімді ауыр бірлескен муфт ретінде әрекет етеді. Немесе лифтинг және өңдеу жабдықтарында, мұнда ұзақ мерзімді SWC әмбебап бірлескен білік муфтасы ретінде, ол ең ауыр болған кезде де тұрақты болып тұрады. Бұл жай жұмыс істемейді - ол қиын кезде жұмысты тұрақты ұстайды.
SWC әмбебап бірлескен муфтасы бір-біріне лақтырылған жоқ - бұл өндірістік параметрлерде қатты тұруға, өнімділік пен ұзақ өмір сүруге мүмкіндік береді. Оның құрылымын жақсы жұмыс істейтініне жақын араластырайық.
Ақылды, қауіпсіз дизайн
Оның өзегінде интеграцияланған шанышқы бастық дизайны - болттармен бірге өткізілмеген жеке бөліктер. Бұл, өйткені ол болттардың бос немесе сілкінісіне, басқа қондырғылармен ортақ бас ауруы қаупі бар. Шын мәнінде, бұл жобалау құрылымдық беріктігін ескі стильдермен салыстырғанда 30% -дан 50% -ға дейін көтерді. Ауыр техниканың әмбебап бірлескен муфтасына сүйенетін кез келген адам үшін, бұл заттар қарқынды болған кезде аз бұзылуларды білдіреді. Бұл көптеген әмбебап бірлескен муфтаның түрі, ол тегіс, тіпті басқа да бөлшектер сәтсіз болуы мүмкін жоғары стресстік ортада.
Жүктеу үшін салынған
Бұл сіздің орташа қосқышыңыз емес. SWC ауыр жалпыға бірдей бірлескен муфта салмақ өлшеуге арналған пайдалы емес, құрылыс машиналары және басқа да ауыр соққылармен айналысуға арналған. Қысыммен оралмайтын өрілген әмбебап бірлескен муфта қажет болған кезде, бұл жеткізіледі. Бұл тек көлемі емес; Бұл материалдық және инженерлік материалдар туралы, олар бірге қарқынды киюсіз жұмыс жасау.
Қуатты тиімді жылжытады
Барлық энергия үлкен өнеркәсіптік қондырғыларда қайда кетеді? Мұнда көп нәрсе ысырап болмайды. Бұл жоғары момент әмбебап бірлескен муфта тиімділік деңгейі 98,6% дейін, яғни жылу немесе үйкеліс ретінде жоғалған энергияны аз етеді. Шығындарды қысқартуға тырысатын операциялар үшін бұл үлкен жеңіс. Бұл тиімді әмбебап бірлескен муфта, бұл үлкен электр беру жүйелерінде өзгереді, бұл энергия төлемдерін тексереді, бұл сенімді әмбебап бірлескен муфта ретінде әрекет етеді.
Тыныш және тұрақты
Дауыстағы техника нақты проблема болуы мүмкін, әсіресе шу шығаратын жерлерде. SWC әмбебап бірлескен муфталар, әдетте, 30-40 дБ (a)-күндер арасындағы шу деңгейімен, әдеттегі сөйлесуден гөрі сабырлы жағдайларды сақтайды. Бұл сізге қажет ортаға үлкен дыбыстық бірлескен муфтат әкеледі, олар сізге сенімділікке мұқтаж болғандықтан, дыбыс деңгейі төмендейді. Бұл зауыттық еденде немесе дәл шеберханада ма, бұл тегіс жұмыс істейтін әмбебап бірлескен муфта ракеткасыз жұмысқа орналасады.
SWC-BH стандартты икемді дәнекерлеудің әмбебап муфтасы тек басқа бөлік емес, бұл машиналар қатты күйзеліске ұшыраған кезде де, қуатты тиімді жылжыту үшін жасалған. Шынымен жарқыраған жерде үзілейік.
Мысалы, ауыр машиналар мен құрылыс құралдарын алыңыз. Сіз экстремалды жүктемелермен және тұрақты тербелістермен айналысқан кезде, ойлау экскаваторлары немесе бульдозерлер - бұл муфт кері қайтып келмейді. Оның дәнекерленген дизайны қосымша қаттылықты арттырады, сондықтан ол барлық қозғалыстың жарылуы немесе тозуы мүмкін. Бұл жұмыстың қаншалықты өрескел болғанына қарамастан, билік ағынын сақтайтын жоғары крут-әмбебап муфтаның түрі.
Зауыттарда, әсіресе конвейер желілері мен құрастыру жүйелерінде, дәлдіктерде. Бұл өндірістік деңгейдегі әмбебап муфталар бұрандаларды өңдейді және туралануға ауысады, соққыны өткізіп жібермейді, жылдамдықпен жүреді. Бұл жолды азайтуға аз уақыт аралығын және уақытты бақылауды бақылауды білдіреді. Инженерлер сияқты, өйткені ол осьтік, радиалды және бұрыштық бұрмалаушылықтарға бейімделеді - бұл басқа бөліктерді тастай алады.
Автомобильдер мен тасымалдау кезінде, жетек біліктеріне дейін біртұтас қуатты біртұтас ету үшін сенімді нәрсе қажет. SWC-BH, ол жүк көліктерінде, пойыздарда немесе басқа көліктерде де сәйкес келеді. Оның икемді дәнекерлеу дизайны қауіпсіздік бойынша бұрыштарды кесусіз жоғары жылдамдықты қолданыстағы орнатуларға оңай етеді. Бұл драйверлік біліктің әмбебап муфтасы.
Теңіз және теңіздегі жұмыс, тұзды сулар, қатал ауа-райы, күтпеген жүктемелер. Бұл муфта мұнда да өздігінен ұсталады. Коррозияға төзімді теңіз әмбебап муфтасы ретінде ол тұз спрейі мен дөрекі теңіздерге, кеме қозғалтқыштар мен қосалқы машиналарды жүйелі түрде жүргізеді. Тоттың қатымсыз сәтсіздігі, күтпеген өшірулер жоқ.
Жел турбиналары сияқты жаңартылатын энергияны қондырғылар және күн тректері энергияны ысырап етпейтін бөліктерге қажет. SWC-BH жаңартылатын энергия көздері ретінде жаңартылатын энергиямен жұмыс істейді, қуатты әрең керісінше беру. Ол әлемдік сапа стандарттарына сәйкес келеді, сондықтан ол Еуропадағы жел фермасында ма, әлде Азиядағы күн сәулесінде ме, жоқ па, ол жеткізеді.
Раядафонда біз жай ғана осы муфталарды сатпаймыз - біз оларды тігеміз. Белгілі бір өлшем, материал немесе момент қуаты қажет пе? Біздің команда сіздің қажеттіліктеріңізге сәйкес келу үшін SWC-BH-ді жазады. Жетіңіз, сонда біз сіздің жүйеңізден барынша көп нәрсені алуға көмектесеміз.
Сіз механикалық компоненттерге сенетін адамды іздеген кезде, әсіресе, SWC-BH стандартының икемді дәнекерлеу типі әмбебап муфталық-райдадофон, бұл басқа опция емес. Біз сапалы және дем алатын өндірушіміз, және бұл біздің барлық бөліктерінде көрсетіледі.
Біріншіден, сапасы біз үшін кейінгі емес. Біз жоғары деңгейлі инженерлік техниканы қолданамыз және әр әмбебап бірлескен муфтаны қолданамыз - бұл қатты техникаға немесе қатаң жинауға арналған өндірістік деңгейдегі модельге арналған, бұл қатаң тексерулер үшін жоғары момент. Әр бөлім ISO 9001 стандарттарына сәйкес келеді және біз оларды қатты сынап көреміз: экстремалды жүктемелер, өрескел жағдайлар, сіздің салаңыз лақтырса да. Мақсаты? Күтпеген сәтсіздіктер, сіздің жұмысыңыз үшін аз қауіп, және жүйелеріңізді үздіксіз басқаратын муфталар жоқ.
Содан кейін теңшеу бар. Нақты болайық - екі жұмыс бірдей емес. Мүмкін сізге нақты өлшемдері бар драйв білігі бар, немесе коррозияға төзімді материалдан жасалған әмбебап муфталар немесе теңіз бензинді әмбебап муфтасы немесе тіпті жаңартылатын энергияның әмбебап муфтасы, тіпті дұрыс моментке арналған. Біз сізді «бір өлшемді - барлық» бөлімге сәйкес етіп қоймаймыз. Сізге не керек екенін айтыңыз, біз оны қолданыстағы қондырғыларға дейін, ол автокөлікке, теңізге немесе күн / жел жүйелеріне сәйкес келетіндігіне бейімбіз.
Бұл шығындар да осындай шығындарымызды аламыз. Жақсы муфта мен әділ баға арасында таңдаудың қажеті жоқ. Біз жеткізілім тізбегімізді оңтайландырдық және өндірісімізді өзімізден тұрдық, сондықтан біз тіпті мамандандырылған бөлшектер бойынша, сонымен қатар теңіз беншігірім момыштық муфталар немесе жоғары момшатуралық индустриалды модель сияқты бәсекеге қабілетті тарифтерді ұсынамыз. Бұл сізге тез арзан емес, тез арзан емес, бұл сізге әсер ету туралы ақпарат береді.
Біздің команда сіз «Тапсырыс» -ды ұрғаннан кейін жоғалып кетпейді. Алғашқы қоңыраудан - сіз қандай әмбебап бірлескен муфталар сіздің жаңартылатын энергия көздеріңіз үшін немесе зауыттық желі үшін жақсы жұмыс істейтін болсаңыз, онда сіз сұрақтарыңыз болса, бізде сұрақтар туындағаннан кейін біз осы жердебіз. Бізде индустриялық ноу-хаттар бар, сондықтан біз сізге дұрыс таңдауға бағыт бере аламыз, жұмыс уақытын болдырмауға және сіздің муфтаңыздың сізге қажет нәрсені дәл осылай ететініне көз жеткізіңіз.
Раядафонда біз тек бөлшектерді сатпаймыз - бізде серіктестік серіктестік. Біз сіздің командаңызды алға жылжытуға сенетін команда болғымыз келеді, олар сіз сияқты жұмыс істейтін әмбебап бірлескен шешімдермен бірге жүреді. Егер сізде нақты қажеттіліктер болса, біздің мамандарымызға хабарласыңыз - біз қалай көмектесе алатынымыз туралы сөйлесейік.
Мекенжай
Луотуо индустриалды ауданы, Жеңьки ауданы, Нингбо қаласы, Қытай
Тел
Электрондық пошта


+86-574-87168065


Луотуо индустриалды ауданы, Жеңьки ауданы, Нингбо қаласы, Қытай
Авторлық құқық © Raydafon Technology Group Co., шектеулі барлық құқықтар қорғалған.
Links | Sitemap | RSS | XML | Құпиялылық саясаты |
